Treatment of Dairy Industry Wastewater - Special Reference to Design of Aerated Lagoon
Abstract
Industrial revolution brought diversified industries to produce goods to meet the demand of increasing population. Such a rapid growth of industrial sector caused water pollution to a great extent. Dairy industry is not an exception, causing significant water pollution. The dairy sector in India grew at a rate of 6.4 per cent annually in the last four years against the global growth rate 1.7 per cent demonstrating significant increase in milk productivity. Around 80 million rural Indian households are engaged in milk production with very high proportion being landless, small and marginal farmers. But on the other hand, water pollution being caused from these dairy industries is quite significant. Various biological treatment technologies were tried for treating dairy wastewater. An attempt has been made by the authors of the present paper to design aerated lagoon including screen chamber, primary clarifier, quiescent settling zone and sludge disposal with success to treat dairy wastewater.
Author Contributions
Academic Editor: Deepak Gola, Department of Biotechnology, Noida Institute of Engineering and Technology, Uttar Pradesh.
Checked for plagiarism: Yes
Review by: Single-blind
Copyright © 2020 Sheetal Kamble, et al.
This is an open-access article distributed under the terms of the Creative Commons Attribution License, which permits unrestricted use, distribution, and reproduction in any medium, provided the original author and source are credited.
Competing interests
The authors have declared that no competing interests exist.
Citation:
Introduction
The Dairy Industries are growing on a rapid pace globally to meet the demand of milk and its product. With the high consumption of dairy products in the form of pasteurized and sour milk, yoghurt, cheese, cream and butter products, ice cream, milk and whey powders, and so on so forth, the production capacity of milk and its products corresponding enhanced by way of new dairy industries and optimization of existing capacities. This has resulted into increased waste water generation leading to environmental problems 1.
Water is a predominant raw material in the processing of milk which is used in cleaning and washing, disinfection, heating and cooling. In addition to above, other operations in the form packaging, storing, ancillary operations like heat transfer etc also involve water 2.
Production processes like pasteurization or homogenization produce wastewater with high levels of Biological oxygen demand (BOD) and Chemical Oxygen Demand (COD) along with pathogens and odor. Such a waste water is subjected to lack of oxygen which allow anaerobic bacteria to proliferate (turn septic) and cause odour problems and need to be controlled before being discharged to municipal treatment facilities 3.
India's compounded annual growth (CAGR) over 2016-20 in respect of dairy industry is expected to maintain 15 per cent and able to achieve economy to the extent of Rs 9.4 trillion. Moreover, the country's per capita milk consumption has also been achieved at 3 per cent CAGR as compared to 1 per cent CAGR globally 4. This shows potential development of dairy sector in India. But as the development grows, the problem of water pollution is equally enhanced and need to address on an integrated front. Dairy industry is one of the significant industries causing water pollution. 1–5 litre of wastewater is produced per litre of milk processed in dairy plants 5. Dairy wastewater contains complex organics such as polysaccharides, proteins, and lipids which are produced on hydrolysis of sugars, acids, and fatty acids 6. Dairy industry generates about 6-10 liters of waste water per liter of milk processed depending upon the process employed and product manufactured in India 7.
Dairy wastes in general contain large quantities of milk constituents such as casein, lactose, fat, inorganic salts along with detergents and sanitizers which contribute towards high BOD and COD 8. Besides, the suspended solids and dissolved solids also show high values. When such a waste is discharged into water bodies, it leads to depletion of oxygen thereby affecting aquatic life and creating anaerobic conditions. Hence, proper treatment of dairy wastewater is essential it is being discharged. Poorly treated wastewater having high degree of pollutants is attributed to poor design; ineffective maintenance and treatment operations create major environmental problems 9. There are several wastewater treatment technologies that have been employed to treat dairy wastewater. Some of such technologies are Activate sludge treatment method, Aerated lagoon, Facultative lagoons, Constructed wetlands, Oxidation ditch, anaerobic treatment methods etc 10, 11.
Dairy effluent contains soluble organics, suspended solids, trace organics which contribute towards high biological oxygen demand (BOD5) and chemical oxygen demand (COD). Dairy wastes are white in color and usually slightly alkaline in nature and become acidic quite rapidly due to the fermentation of milk sugar to lactic acid 2.
Review of Studies on Dairy Wastewater Treatment and Technology Design
Wastewater treatment technologies can also be designed to provide low cost with additional benefits from the reuse of water. These systems may be classified into three basic systems as shown under:
1. Mechanical treatment systems
2. Aquatic systems
3. Terrestrial systems
Mechanical treatment systems use natural processes within a constructed environment. Such systems are usually applicable where suitable lands are unavailable for the implementation of natural system technologies. However, aquatic systems are in the form of lagoons; facultative, aerated, and hydrograph controlled release (HCR) lagoons. These lagoon-based treatment systems can be provided with additional pre or post-treatments using constructed wetlands, aqua cultural production systems, and sand filtration wherever required. Terrestrial systems use the nutrients available in wastewaters which facilitate plant growth, soil adsorption, and converting biologically available nutrients into less-available forms of biomass. Such a system is used methane gas production, alcohol production, cattle feed supplements etc.
Waste water treatment methods may also be classified under following
a. Primary treatment
b. Secondary treatment
c. Tertiary treatment
Wastewater treatment consists of physical, chemical and biological methods basically used to remove the contaminants from wastewater. In individual wastewater treatment, procedures/ techniques are combined into variety of systems in order to achieve different levels of contaminant removal. These treatments are classified as Primary, Secondary and Tertiary waste water treatment.
Primary treatment systems are used to remove suspended solids, oil and grease, floating materials, mixing of coagulants and coagulant aids, and removal of pollutants through well designed settling systems. These primary systems are usually in the form of physico- chemical treatment where inorganic impurities are removed which helps in reducing the pollution load in secondary treatment.
a. Screening
b. Grit chamber
c. Oil and grease trap
d. Equalization and neutralization
e. Coagulation and flocculation
f. Sedimentation tank (settling tanks or clarifier)
g. Flash mixture
Secondary treatment is employed after primary treatment to remove organic pollutants present in the wastewater. Such a system has different residence time for different unit processes. The unit processes and operations used in secondary treatment are listed below:
a. Activated sludge process
b. Trickling filters
c. Lagoons
d. Oxidation ponds
e. Anaerobic digestion
Tertiary treatment is employed as an advance treatment system to remove remaining left over organic and inorganic impurities in the waste water after primary and secondary treatment. The unit operation and processes used in tertiary treatment are listed as under.
a. Chlorine (or other disinfecting compounds, or occasionally ozone or ultraviolet light)
b. Reverse Osmosis
c. Filtration
d. Desalination
e. Colloidal removal
Various treatment technologies of wastewater in the form of Activated sludge treatment 12, Aerated lagoons, Oxidation ponds 13, Trickling filter 14, Rotating biological contactors 15, 16, Sequencing batch reactor 17, 18. Anaerobic treatment 19, etc. were tried for treating dairy wastewater. 20 Published a review on water utilisation, energy utilisation and wastewater management in the dairy industry. 21 Reviewed and investigated environmental impact of dairy effluents and their effective treatment using biological wastewater treatment technologies. 22 showed mathematically that a two-stage aerated lagooning system with an aerobic lagoon as the first stage and a facultative lagoon as the second stage will require less total detention time than it would if a single aerobic lagoon or a single facultative lagoon were used (or if two or more facultative lagoons were used in series). 23 performed an aeration experiment in a dairy lagoon with two commercial aerators for 1 month. Liquid concentrations of ammonia, total nitrogen, nitrite and nitrate were monitored before, during and after the experiment and atmospheric ammonia was measured downwind of the lagoon using a short-path differential optical absorption spectroscopy (DOAS) instrument with 1 ppbv sensitivity. Combined photosynthesis and mechanical aeration for nitrification in dairy waste stabilisation ponds was studied by 24. 11 reviewed the performance and design criteria of constructed wetlands sand filters for the treatment of dairy wastewater. 25 evaluated dairy wastewater for biological hydrogen (H2) production in conjugation with wastewater treatment in a suspended growth sequencing batch reactor (AnSBR) employing sequentially pre-treated (heat-shock (100 ◦C, 2 h) and acid (pH 3.0, 24 h)) mixed consortia. 26 studied the treatment and stabilisation of dairy wastewater using limited aeration treatments. A single chamber microbial fuel cell with spiral anode for dairy wastewater treatment was developed by 6. 10 harnessed the redox gradients in facultative lagoons using a lagoon microbial fuel cell (LMFC) to enhance autonomously the delivery of oxygen to the lagoon through aeration and mixing by operating an air pump. 9 determined behaviours of various parameters of dairy wastewater and evaluated the performance of effluent treatment plant. 27 evaluated aerated lagoon using life cycle approach. Aim of present study was to design aerated lagoon for dairy wastewater treatment.
Treatment of Dairy Wastewater Using Aerated Lagoons
Aerated lagoons are one of the well-known treatment system required for the treatment of dairy wastewater and it works as a proficient and easy approach for removal of the organic and inorganic loading in the dairy effluents 28. The lagoons can be operated both in aerobic and anaerobic condition depending on the type of wastewater released from the industry
The aerated lagoons are used frequently for the treatment of industrial wastes because of their simple operations, removal efficiencies and less land requirements. Combination of lagoons can be used where lagoon water will recirculate as flushing water in a confinement facility and further treatment is done. Aerators are generally placed on the lagoon surface that provide enough oxygen for aerobic oxidation and also allow a sludge layer to form at the bottom of partially mixed lagoons29.
An anaerobic lagoon followed by a naturally or mechanically aerated lagoon will provide flushing water that does not have disagreeable odours and more attractive treated manure for land disposal by irrigation. This method ensures a subsequent “self-digestive process” of the biomass by the optimal use of the biological reaction to degrade the pollutant 30. It is a good treatment plant that runs excellently, give you a lot of extra time to do other jobs. This system is a time saver.
An aerobic lagoon is one in which the mixing level created by the aeration equipment keeps the solids in suspension. A facultative lagoon is one in which the mixing level is low enough to allow solids to settle but high enough to distribute the dissolved oxygen (do) throughout the lagoon. The design, functioning and efficacy of aerated lagoons depend on temperature, type of microorganisms and their nutrient uptake rate 31.
Aerated Lagoon Design for Dairy Wastewater
The wastewater from 5 industries located in Rajasthan were taken and analyzed. The characteristics of wastewater vary substantially partly due to utilization of production capacity at that point of time and partly on account of the size of the industries and practices adopted. The salient characteristics are shown in Table 1 below and schematic layout of treatment system is also shown in Figure 1, Figure 2, Figure 3.
Table 1. Sowing wastewater characteristics of dairy effluent| S. no. | Parameters | Concentration | ||
| Minimum | Maximum | Average | ||
| 1 | BOD in mg/l | 300 | 1700 | 1000 |
| 2 | COD in mg/l | 1100 | 3300 | 2200 |
| 3 | pH | 6 | 8 | 7 |
| 4 | TSS in mg/l | 450 | 2550 | 1500 |
| 5 | Volume in m3/ day | 3000 | 5000 | 4000 |
Figure 1.Schematic layout of treatment system.
The design of the treatment plant is based on the average values as given here under:
BOD in mg/l = 1000
Volume in m3/day = 4000
Design of Screen Chamber
Assuming designed rate of flow to be 1.5 times the average flow
Hence designed volume to be handled is = 1.5*4000 = 6000 m3/day or 0.07 m3/sec
Ideal velocity flow through velocity is assumed as 0.6 m/s
Area required to accommodate flow = 0.07/0.6 = 0.117 m2
Assuming width of screen chamber =0.5 meter
Depth of flow = 0.117/0.5 = 0.234 meters or 23.4 cms
Using 12 mm rectangular bars at 50 mm centre to centre distance
Clear opening = 38 mm
End clearance =38 mm
Let there be n bars
Total width of opening = ( n + 1 )*38 = 500
n = (500 - 38)/ 38 = Say 13 nos
Total width of the screen chamber = 50 + 13*1.2 = 65.6, say 70 cms
Design of Primary Clarifier
While designing primary clarifier, following assumptions are taken
High performance flow rate = 20 m3/m2/day
Clear water depth = 3 meters
Design Calculations
Loading rate = 20 = 6000/ (π/4)*D2
D = 19.54 meters, say 20 meters
Detention time = Volume of clarifier/ wastewater quantity
Volume of clarifier = 3* (π/4)*D2
= 3*3.14*202/4
=942 m3
Wastewater quantity = 6000 m3/day
So detention time = 942/6000 = 0.157 days = 3.768 hours
It is expected that primary clarifier would remove 30 percent of the influent BOD and also 80 percent of suspended solids.
Hence BOD after primary clarifier = 0.7*1000 = 700 mg/l
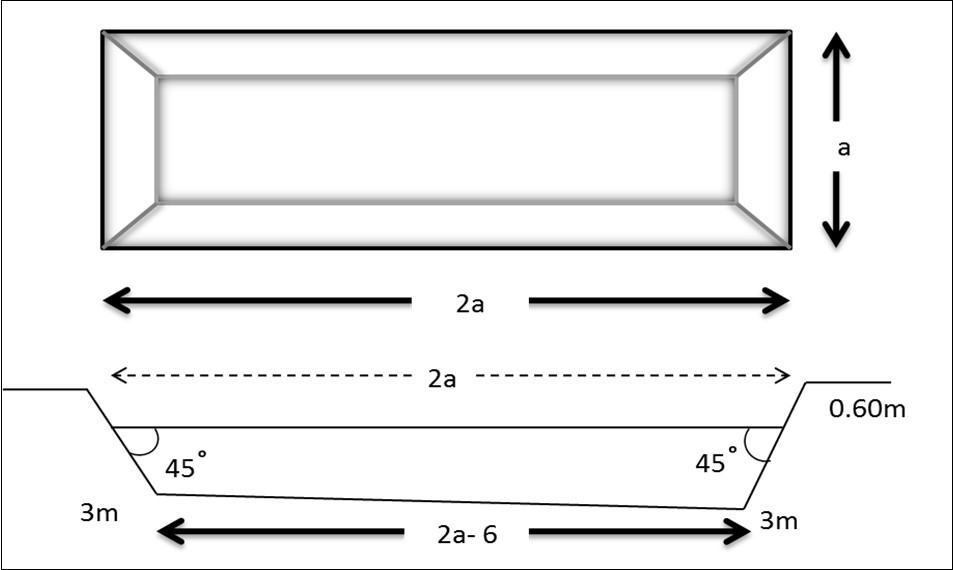
Design of Aerated Lagoon
The design data for aerated lagoon after the primary clarifier is as under:
BOD influent = Li = 700mg/l
System rate constant = K = 0.12/days
Oxygen requirement for 90 percent removal of BOD = 1.4kg/kg BOD applied
Oxygen capacity of surface aerators = 1.36kg O2/H.P/hr
Liquid depth = 3 meters
Free board = 0.3 meters
Shape = Rectangular
Length: Breadth = 2 : 1
Side slope = 1 vertical: 1 horizontal
Effluent BOD after lagoon treatment =30 mg/l
Design calculations of Aerated Lagoon:
Lagoon Size
Detention time, t = log (Li/Le)/ K = log (700/30)/0.12 = 11.40 days, say 12 days
Hence volume of lagoon V = Q *t = 6000*12 = 72000 m3
Providing 2 lagoons of equal size
Size of each lagoon V = 72000/2 = 36000 m3
V = 36000 = {2a*a) + (2a-6) (a-6)*3}/(2)
a = 98.2 or say 99 meters
Hence size of lagoon = 99 meters width and 198 meters length
Hence size of lagoon =
Oxygen Requirement
Assuming 90 percent BOD reduction
Oxygen requirement = 1.4 kg/kg of BOD applied
Total kg of BOD applied = 6000*1000*700/ 106
= 4200 kg/day
Oxygen required = 1.4*4200 kg O2/ day = 245 kg/hr
Horse Power Requirement
Assuming surface aerators capable of transferring 1.36 kg of O2/ H.P/ Hour at lagoon condition
Total H.P required = 245/1.36 = 180 H.P
Providing 8 aerators of 22.5 H.P capacities each, each lagoon compartment to have 4 aerators.
Plan and elevation of designed aerated lagoon is shown below in Figure 4.
Design of Quiescent Settling Zone
This zone may be a diked-off portion of the aerated basin
Assuming detention time for quiescent settling = 2 days
Volume of settling basin = 2*6000 = 12000 m3
Providing one settling basin for each lagoon
Volume of each basin = 12000/2 = 6000 m3
Assuming that the width of the basin is equal to lagoon, that is, 99 meters and depth 3 meters
Length of settling basin = 6000/99*3 = 20.2 or say 21 meters
Hence size of settling basin would be 99 meters by 21 meters
Design of Sludge Disposal
Average suspended solids = 1500 mg/l
Assuming 80 percent removal of suspended solids
Suspended solids removed = 1500*0.8 = 1200 mg/l
Quantity of settled solids = 1200*6000*1000/ 106
= 7200 kg/day
Assuming primary sludge contains 4 percent solids by dry weight
Hence the volume of settled sludge = 7200*100/4 = 180000 litres/day
= 180 m3 /day
If the dairy industry is located in rural area and sufficient land is available, the primary sludge can be discharged to sludge lagoon to settle the sludge. The sludge will compact at the bottom. There can be series of such lagoons. When one lagoon is full of sludge, the operation can be shifted to another lagoon. It has been reported that lagoon constructed at some distance from the dairy industry and adjacent to community, have posed aesthetic problems. This problem is proposed to be minimized by developing extensive green belt of selected plant species around lagoon.
Application of Treated Wastewater
The treated wastewater can be applied for raising green belt, green spaces and vegetative cover around the wastewater treatment plant while keeping hydraulic loading concept. Since the treated waste contain adequate nutrients, the vegetative cover will grow fast without using fertilizers. The specific plant species would be selected to grow under local conditions. Such a green infrastructure would not only provide aesthetic atmosphere but also reduce odor, air pollutants, and noise, along with restricting the wastewater to join any water body. However, a comprehensive green infrastructure needs to designed, planned and implemented on a scientific scale.
Conclusions
Treatment of dairy water can be treated with various treatment technologies depending upon the locational specific conditions like availability of land, surroundings, economic viabilities, and acceptability. The Aerated lagoon would seem to be a useful system for the treatment of dairy wastewater. The cost-effectiveness and their efficient activity have made the aerobic lagoons a suitable technique for treating the dairy effluents in many developing nations. They can be efficiently used to lower the concentration of the nutrients and organic compounds. Aerated lagoon treatment method is quite useful if the sufficient land is available near the dairy plant site, residential colonies are away from treatment side and other locational specific advantages. It would be highly beneficial if the treated effluent is applied for raising green infrastructure around the treatment site. This will also avoid the chances of its being discharged into water bodies and unplanned disposal.
References
- 1.Raghunath B, Punnagaiarasi A, Rajarajan G, Irshad A, Elango A. (2016) . Mahesh kumar G. Impact of Dairy Effluent on Environment—A Review. Integrated Waste Management in India 239-249.
- 2.Shete Bharati, N P Shinkar, et.al (2013). Dairy industry wastewater sources, characteristics & its effects on environment. , Int. J. Curr. Eng. Technol 3, 1611-1615.
- 3.Slavov Kolev, A. (2017) Overview of general properties and possible wastewater treatment procedures of the dairy industry. Food Technology and Biotechnology 55(1), 14-28.
- 4.Pti. (2017) Dairy sector to grow at 15% CAGR till 2020 to Rs 9.4 trillion:. Report. (Retrieved,October05,2020)fromhttps://economictimes.indiatimes.com/news/economy/agriculture/dairy-sector-to-grow-at-15-cagr-till-2020-to-rs-9-4-trillion-report/articleshow/62105938.cms
- 5.Wojdalski J, Dróżdż B, Piechocki J, Gaworski M, Zander Z. (2013) Determinants of water consumption in the dairy industry. , Polish Journal of Chemical Technology 15(2), 61-72.
- 6.M, M N Esfahany, Behzad T, Sedaqatvand R. (2012) Single chamber microbial fuel cell with spiral anode for dairy wastewater treatment. , Biosensors and Bioelectronics 38(1), 264-269.
- 7.P K Tiwari. (1994) An agenda for pollution control in dairy industry. , Indian Dairyman 46, 617-617.
- 8.S, P S, Gulati V, J F Kennedy. (2001) Development of bench scale technology for the treatment of dairy waste waters by Candida parapsilosis MTCC. , Indian Journal of Microbiology 41(4), 285-287.
- 9.A S Sutar, R K Mulla, A C Ranveer. (2015) Effluent Treatment Plant of Dairy Wastewater–A Performance Evaluation. , International Research Journal of Engineering and Technology 2(8), 837-840.
- 10.Ewing T, J T Babauta, Atci E, Tang N, Orellana J. (2014) Self-powered wastewater treatment for the enhanced operation of a facultative lagoon. , Journal of Power Sources 269, 284-292.
- 11.M G Healy, Rodgers M, Mulqueen J. (2007) Treatment of dairy wastewater using constructed wetlands and intermittent sand filters. , Bioresource technology 98(12), 2268-2281.
- 12.Lateef A, M N Chaudhry, Ilyas S. (2013) Biological treatment of dairy wastewater using activated sludge. , Science Asia 39(2), 179-185.
- 13.Loperena L, M D Ferrari, A L Díaz, Ingold G, Pérez. (2009) Isolation and selection of native microorganisms for the aerobic treatment of simulated dairy wastewaters. , Bioresource technology 100(5), 1762-1766.
- 14.S A Raj, Murthy D V S. (1999) Comparison of the trickling filter models for the treatment of synthetic dairy wastewater. , Bioprocess Engineering 21(1), 51-55.
- 15.Mehrdadi N, G N Bidhendi, Shokouhi M. (2012) Determination of dairy wastewater treatability by bio-trickling filter packed with lava rocks–case study PEGAH dairy factory. , Water Science and Technology 65(8), 1441-1447.
- 16.Nitin A, Hampannavar S, R B Gadag, N V Pradeep, V P Anupama. (2013) Treatment of Dairy Industry Effluent by Rotating Biological Contactor (RBC). International journal of research in environmental science and technology. 3(1), 1-4.
- 17.B A Mohseni, Bazari H. (2004) Biological treatment of dairy wastewater by sequencing batch reactor. , Iranian J. Env. Health Sci. Eng 1, 65-69.
- 18.Schwarzenbeck N, J M Borges, P A Wilderer. (2005) Treatment of dairy effluents in an aerobic granular sludge sequencing batch reactor. , Applied Microbiology and Biotechnology 66(6), 711-718.
- 19.Chatzipaschali A A, Stamatis A G. (2012) Biotechnological utilization with a focus on anaerobic treatment of cheese whey: current status and prospects. , Energies 5(9), 3492-3525.
- 20.S J Rad, M J Lewis. (2014) Water utilisation, energy utilisation and waste water management in the dairy industry: A review. , International Journal of Dairy Technology 67(1), 1-20.
- 21.G J Joshiba, P S Kumar, C, Jayashree E, Racchana R. (2019) Critical review on biological treatment strategies of dairy wastewater. , Desalination and Water Treatment 160, 94-109.
- 22.R A Kormanik. (1972) Design of two-stage aerated lagoons. , Journal (Water Pollution Control Federation) 451-458.
- 23.Rumburg B, Neger M, G H Mount, Yonge D, Filipy J. (2004) Liquid and atmospheric ammonia concentrations from a dairy lagoon during an aeration experiment. , Atmospheric Environment 38(10), 1523-1533.
- 24.Sukias J P S, R J Craggs, C, R J Davies-Colley, J W Nagels. (2003) Combined photosynthesis and mechanical aeration for nitrification in dairy waste stabilisation ponds. Water science and technology. 48(2), 137-144.
- 25.S V Mohan. (2008) Fermentative hydrogen production with simultaneous wastewater treatment: influence of pretreatment and system operating conditions.
- 26.P M Ndegwa, Wang L, V K. (2007) Stabilisation of dairy wastewater using limited-aeration treatments in batch reactors. , Biosystems engineering 97(3), 379-385.
- 27.Kamble S, Singh A, Kazmi A, Starkl M. (2019) Environmental and economic performance evaluation of municipal wastewater treatment plants in India: a life cycle approach. , Water Science and Technology 79(6), 1102-1112.
- 28.Renou S, Givaudan S, G J, Poulain S, Dirassouyan F et al. (2008) Landfill leachate treatment: Review and opportunity. , Journal of hazardous materials 150(3), 468-493.
- 29.Lopez J, Burgos A, Rodriguez P. (2015) Technology fact sheets for effluent treatment plants on textile industry. Primary treatment series:Primary Clarifier(FS-PRIM-002).
Cited by (6)
This article has been cited by 6 scholarly works according to:
Citing Articles:
Next Nanotechnology (2025) Crossref
S. Letlhabula, O. O. Sadare, S.P. Malinga, K. Moothi - Next Nanotechnology (2025) Semantic Scholar
Next Nanotechnology (2025) OpenAlex
Separation and Purification Technology (2024) Crossref
Keka Rana, Debasish Sarkar, Kalpana Biswas, Souvik Maity, Diptendu Datta - Separation and Purification Technology (2024) Semantic Scholar
Separation and Purification Technology (2024) OpenAlex
Waleed M. Abood, Dhafir F. Ali, Firas S. Abass, Baydaa M. Ali - Iraqi Journal of Industrial Research (2024) Semantic Scholar
Iraqi Journal of Industrial Research (2024) OpenAlex



